*碳纤维复合材料介绍详细内容* |
|
强化纤维材料特性 |
|
强化纤维补强是近年来美、日等先进国家所研发的应用在土木工程的维修补强方法。一般而言,此种方法适合应用在柱补强,利用其紧密的贴着所产生之围束力增加柱之韧性以达到增加耐震能力及增加抗压能力的目的。 |
|
| 1.高强度: | |
强化纤维补强材料之强度普遍较钢材为高,一些特制强化纤维材料张力强度甚至可达钢材的四倍以上。 |
|
| 2.可增加断面韧性: | |
强化纤维材料为一种高强度材料,应用在柱补强时因其材料所发挥之高围束力使整体结构之韧性增加,而符合现行耐震规 之要求。 |
|
| 3.重量轻: | |
其比重比铝还要轻,在同样体积的材料下,强化纤维不但具有高强度、韧性,同时因其质量轻,故其所引致之地震力相对就小,所以就这点而言是相当优良的补强材料。 |
|
| 4.保持原先柱子之形状不变: | |
不论是方形、矩形、六角形或任何几何尺寸,经修补後,均保持原貌。 |
|
| 5.不受空间的影响: | |
强化纤维只要有10公分之净空,便可施作,本系统适合这种狭窄空间施工。 |
|
| 6.耐久性及耐腐蚀性强: | |
强化纤维不腐蚀,对於盐份、土壤及腐蚀环境之抵抗性甚强。 |
|
强化纤维补强方法简介 |
|
| 施工顺序: | |
| 1.面层处理 | |
|
|
| 2.断面复旧 | |
|
|
| 3.不平整修正 | |
|
|
| 4.底漆涂布 | |
气温在5℃以下,雨天或有可能结露时,不可施工。施工 围的温度、湿度确认後,选用适当的底漆。
|
|
| 5.单向强化纤维的粘贴 | |
气温在5℃以下,雨天或有可能结露时,不可施工。施工 围的温度、湿度确认後,选用适当的环氧树脂。
|
|
| 6.养护 | |
室外施工时,为了不让雨水、砂、灰尘等附着於上,必须使用塑胶布保护。
|
|
| 7.完工後面层保护喷涂 | |
|
|
|
|||
| 1.温度 | |||
在低温状况下,底漆(Primer)及环氧树脂(Epoxy)粘度会增加,硬化反应较迟缓。会引起硬化反应不良之状况。冬季或寒冷地带,施工条件要慎重检讨,气温有5℃以下不可施工。 |
|||
| 2.湿气 | |||
水分的存在会阻碍底漆及环氧树脂的粘着。有漏水情形时,先做止水、导水处理,有可能结露的时候不可施工。 |
|||
| 3.表面不平 | |||
表面凹凸或角落的部位,粘贴强化纤维时容易浮起。高差应修正在1mm以内,凸角取R=10mm以上,凹角用树脂砂浆填补使其平滑。 |
|||
| 4.底漆(Primer)及环氧树脂(Epoxy)的处理 | |||
粘度以加温来调整,不可以有机溶剂等来稀释。主剂与硬化剂混合後,严守有效使用时间,超过使用时间的东西不可使用。 |
|||
| 5.强化纤维的处理 | |||
强化纤维不可随意折叠。粘贴时,纤维(长向)方向,预留10cm的搭接长度,短方向则不用。 |
|||

裂缝修补方法示意图 |
混凝土结构裂缝允许宽度值表 |
||||||||||||||||||||||||||||||||||||||||||||||||||||
|
||||||||||||||||||||||||||||||||||||||||||||||||||||
|
||||||||||||||||||||||||||||||||||||||||||||||||||||

|
|
|||
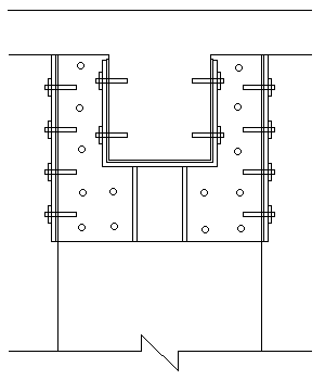
1.梁钢钣补强大样图
B-B
A-A
化学锚栓使用建议:
2.柱钢钣补强大样图
A-A
|
|||
| 前言 | |||
| 既有的RC构架往往因某些特殊的原因(如火害、材质劣化、使用载重增加...),而必须予以补强以确保结构安全。补强的方式一般可分为改变结构系统及增加结构元件(如梁、柱)的强度等二种方式。在改变结构系统方面,有加墙、加斜撑甚至加柱等方式,使力量传递系统作一总体性的改变,以达到分担原结构杆件力量的目的,进而增加原总体结构强度。在增加原结构元件强度方面,则钢板(或FRP等)补强乃为目前最常被采用的式之一。一般而言,若不影响原构造物的使用机能,则改变原结构系统实为一最经济有效的结构补强方式。然对一构造物而言,加墙或加柱的结构系统力量转化方式,往往会使原构造物的使用机能丧失,当然也就使得此补强方式产生实用上的困难。在此状况下,强化原结构元件强度的补强方式,虽然不甚经济,但在总体效益的考量下(使用机能重于补强成本),也就变成极受青睬的结构补强方式之一。 RC结构元件的补强方式,一般有钢板(或FRP)贴片补强及增大构件断面尺寸及钢筋等两种方法。增大构件断面尺寸及钢筋的补强方式,在设计时祗要注意新旧混凝土交界面的施工方式及新增钢筋的搭接、锚锭等细节,其成效可用现有RC理论作一评估,进而达到补强结构的目的。然而增大构件尺寸,必然造成使用空间的减少,在寸土寸金的都会区,此种补强方式,往往不易被人接受,故使得钢板贴片的补强方式,增加了其被采用的有利条件。 实际RC构架中可行的施工方式,于梁两侧以环氧树脂粘贴钢板,并在适当位置加设锚锭螺栓,则此在两侧粘贴钢板的RC梁视为一垂直向部分复合的三明治梁。此垂直向部分复合三明治梁经适当挠曲理论分析显示,两侧粘贴钢板的补强方式,实可同时补强原RC梁的弯矩及剪力强度。本文即据此理论分析及相关试验结果,提出一个简易可行的设计表格及设计方法,供结构工程师在RC梁补强设计时采用。 |
|||
|
|||
|
|
|
|
建筑用途变更或结构加强之梁、柱型钢补强 |
|
|
§ 增设H型钢补强工法
|
|
|
||
|
||
| 施工步骤 | ||
|
||
|
|
各式的海砂屋专业修补工法 |
|
|
||||||||||||||||||||
火灾灾後结构安全修复补强施工 |
||||||||||||||||||||
| 楼板补强 | ||||||||||||||||||||
|
||||||||||||||||||||
§裂缝修补方法示意图 (A). AE160 裂缝注射(RC构件,裂缝宽度>0.2m/m时适用)
(B). 切V槽EPOXY填缝 (砖墙适用)
(C). 切V槽弹性填缝胶填缝 (轻质砖墙或两种不同材质之间裂缝适用)
(D). 弹性涂料表面封塞涂布 (粉刷裂缝适用)
PS .本工法得视裂缝情况,加纤维网补强之;且有时会视工地现场及裂缝情况,交互使用。 |
||||||||||||||||||||
| 梁因管路穿孔或挠度变化补强 | ||||||||||||||||||||
梁弯矩钢板补强施工法![]() ![]() |
||||||||||||||||||||
|
|
||||||||||||||||||||
|
||||||||||||||||||||
|
|
![]() |
|
![]() |